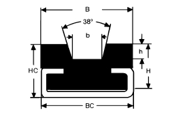
VEDENÍ ŘEMENŮ
Průměr |
Objednací
|
Ocelový |
Rozměry (mm) |
Hmotnost |
|||||||
BC |
B |
H |
HC |
b |
r |
h |
kg/m |
||||
![]() |
8 |
1451 KR 008* |
|
|
20 |
10 |
- |
6,0 |
- |
3,5 |
0,165 |
10 |
1451 KR 010* |
|
|
20 |
10 |
- |
7,2 |
- |
4,5 |
0,155 |
|
13 |
1451 KR 013* |
|
|
20 |
12 |
- |
9,2 |
- |
6,0 |
0,162 |
|
17 |
1451 KR 017* |
|
|
30 |
15 |
- |
11,5 |
- |
8,0 |
0,317 |
|
20 |
1451 KR 020* |
|
|
30 |
20 |
- |
13,5 |
- |
9,0 |
0,424 |
|
22 |
1451 KR 022* |
|
|
35 |
20 |
- |
14,5 |
- |
10,5 |
0,477 |
|
25 |
1451 KR 025 |
|
|
40 |
25 |
- |
16,5 |
- |
12,0 |
0,701 |
|
32 |
1451 KR 032 |
|
|
50 |
30 |
- |
21,0 |
- |
16,0 |
1,008 |
|
40 |
1451 KR 040 |
|
|
60 |
35 |
- |
26,0 |
- |
21,0 |
1,395 |
|
| - | |||||||||||
| - | |||||||||||
| - | |||||||||||
| - | |||||||||||
![]() |
8 |
1451 KRC 0802* |
C 02 |
20 |
20 |
10 |
15 |
6,0 |
- |
3,5 |
0,135 |
10 |
1451 KRC 1002* |
C 02 |
20 |
20 |
15 |
18 |
7,2 |
- |
4,5 |
0,210 |
|
13 |
1451 KRC 1303* |
C 03 |
28 |
25 |
18 |
22 |
9,2 |
- |
6,0 |
0,324 |
|
17 |
1451 KRC 1703* |
C 03 |
28 |
30 |
18 |
24 |
11,5 |
- |
9,0 |
0,317 |
|
20 |
1451 KRC 2003* |
C 03 |
28 |
30 |
18 |
24 |
13,5 |
- |
9,0 |
0,292 |
|
22 |
1451 KRC 2205* |
C 05 |
38 |
35 |
25 |
30 |
14,5 |
- |
10,5 |
0,611 |
|
25 |
1451 KRC 2505* |
C 05 |
38 |
40 |
25 |
32 |
16,5 |
- |
12,0 |
0,611 |
|
32 |
1451 KRC 3210* |
C 10 |
60 |
60 |
35 |
40 |
21,0 |
- |
16,0 |
1,495 |
|
40 |
1451 KRC 4010 |
C 10 |
60 |
60 |
35 |
40 |
26,0 |
- |
21,0 |
1,200 |
|
| - | |||||||||||
| - | |||||||||||
| - | |||||||||||
| - | |||||||||||
![]() |
5,0 |
1451 RR 05* |
|
|
20 |
10 |
- |
- |
3 |
3 |
0,172 |
6,3 |
1451 RR 06* |
|
|
20 |
10 |
- |
- |
4 |
4 |
0,165 |
|
8,0 |
1451 RR 08* |
|
|
20 |
12 |
- |
- |
5 |
5 |
0,187 |
|
9,5 |
1451 RR 10* |
|
|
25 |
15 |
- |
- |
6 |
6 |
0,297 |
|
12,5 |
1451 RR 12* |
|
|
30 |
20 |
- |
- |
7 |
8 |
0,482 |
|
15,0 |
1451 RR 15* |
|
|
35 |
25 |
- |
- |
9 |
10 |
0,704 |
|
18,0 |
1451-RR 18* |
|
|
40 |
25 |
- |
- |
10 |
12 |
0,786 |
|
| - | |||||||||||
| - | |||||||||||
| - | |||||||||||
| - | |||||||||||
![]() |
5,0 |
1451 RRC 0502* |
C 02 |
20 |
20 |
10 |
15 |
- |
3 |
3 |
0,145 |
6,3 |
1451 RRC 0602* |
C 02 |
20 |
20 |
15 |
18 |
- |
4 |
4 |
0,222 |
|
8,0 |
1451 RRC 0802* |
C 02 |
20 |
20 |
15 |
18 |
- |
5 |
5 |
0,145 |
|
9,5 |
1451 RRC 1003* |
C 03 |
28 |
25 |
15 |
20 |
- |
6 |
6 |
0,259 |
|
12,5 |
1451 RRC 1203* |
C 03 |
28 |
28 |
15 |
20 |
- |
7 |
8 |
0,264 |
|
15,0 |
1451 RRC 1505* |
C 05 |
38 |
33 |
20 |
25 |
- |
9 |
10 |
0,469 |
|
18,0 |
1451 RRC 1805* |
C 05 |
38 |
38 |
20 |
25 |
- |
10 |
12 |
0,452 |
|
| - | |||||||||||
| - | |||||||||||
| - | |||||||||||
| - | |||||||||||